The Intellectual Property Office of the Philippines (IPOPHL) has granted a patent for a homegrown invention designed to make veterinary work safer and more efficient — a specialized device for securing and lifting large dogs during medical and surgical procedures.
The device, developed by veterinary medicine graduate and entrepreneur Mariam A. Elestwani, was created to help veterinarians and animal handlers safely manage heavy or uncooperative animals, particularly in field operations and mass vaccination campaigns.
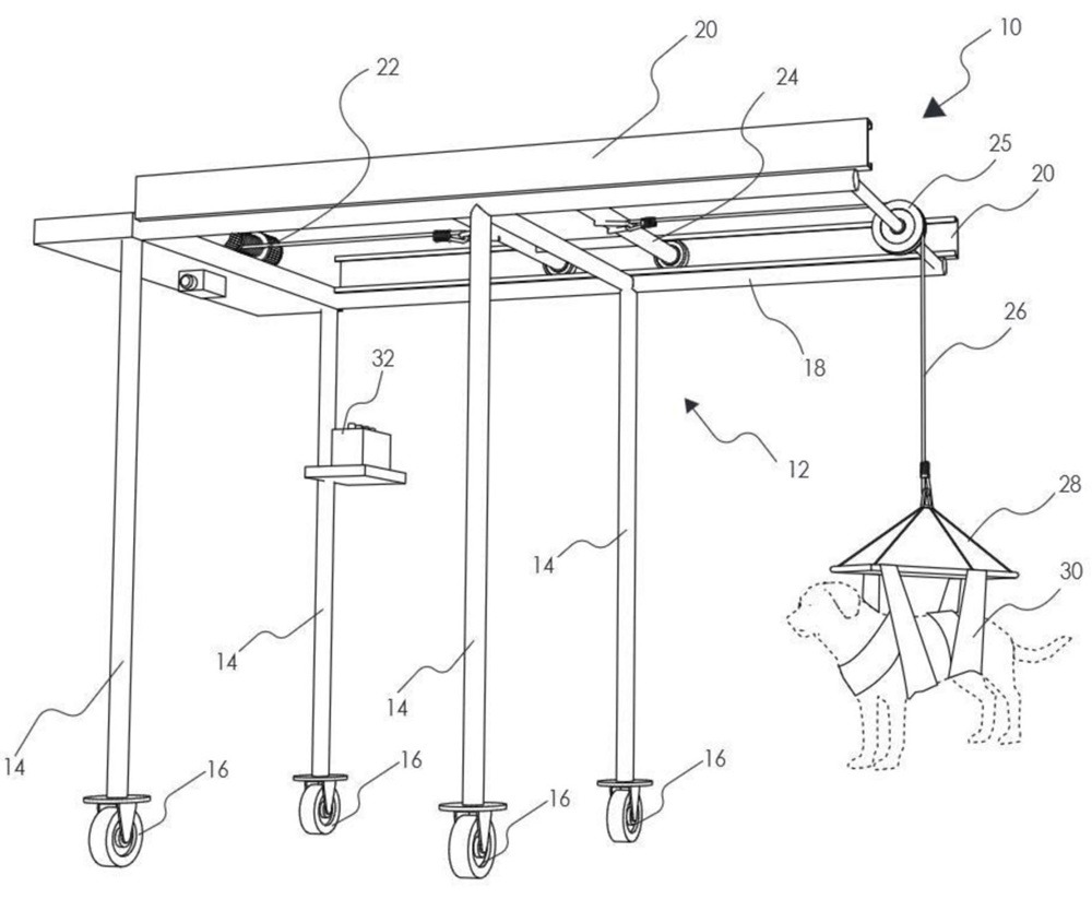
“We often handle up to 200 dogs and cats in a day,” Elestwani said. “This lifting device helps save time, prevent injuries, and reduce animal and human trauma.”
Elestwani’s invention uses a simple but sturdy mechanical framework that allows for secure restraint and elevation of large dogs without causing discomfort.
By reducing physical strain on veterinarians and minimizing stress for animals, the device promotes more humane veterinary practices, especially in rural areas with limited equipment.
The invention was granted under the Patent Cooperation Treaty (PCT), which streamlines the international patent application process across 158 member states — a key step toward Elestwani’s goal of introducing her device to a global market.
The patent marks the third invention recognized under IPOPHL’s Inventor Assistance Program (IAP), a joint initiative with the World Intellectual Property Organization (WIPO) that provides pro bono legal and technical mentorship to resource-limited inventors.
The awarding ceremony took place on October 20 at the Department of Trade and Industry (DTI)–Caraga office, attended by IPOPHL assistant director Chamlette D. Garcia, DTI regional director Gay A. Tidalgo, and IAP volunteer patent professionals professor Armando R. Reosura and Ferdinand A. Dumalagan.
“With their help, I was able to protect my inventions, gain global recognition, and develop solutions that solve real-life problems,” Elestwani said. “This device also contributes to our goal of achieving a Rabies-Free Philippines by 2030.”
Since its Philippine launch in 2016, the IAP has helped local inventors transform grassroots innovations into patent-protected technologies with commercial potential.


